Datei:LP-Topf.jpg
Zur Navigation springen
Zur Suche springen
LP-Topf.jpg (388 × 488 Pixel, Dateigröße: 69 KB, MIME-Typ: image/jpeg)
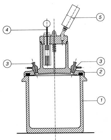
Datei:LP-Topf.jpg|mini|gerahmt|LP-Topf (Luftgehaltsprüfer)
1 LP-Topf
2 Deckel
3 Ventile
4 Luftpumpe
5 Druckkammer
6 Manometer]]Luftporen-Messtopf (Luftgehaltsprüfer) zum Messen des Luftgehalts von Frischbeton aus Gesteinskörnungen mit dichtem Gefüge nach dem [[Druckausgleichsverfahren
Quelle: Beton-Lexikon. Beton-Verlag GmbH, Düsseldorf 1990
Dateiversionen
Klicke auf einen Zeitpunkt, um diese Version zu laden.
| Version vom | Vorschaubild | Maße | Benutzer | Kommentar | |
|---|---|---|---|---|---|
| aktuell | 14:04, 22. Dez. 2014 | 388 × 488 (69 KB) | Maintenance script (Diskussion | Beiträge) | Importing file |
Du kannst diese Datei nicht überschreiben.
Dateiverwendung
Die folgende Seite verwendet diese Datei:

